Skip to main content

AMD Unveils New DDR5 Patent and ASUS Turbo Radeon AI Pro R9700 GPU

·333 words·2 mins
AMD DDR5 ASUS Radeon R9700 AI GPU Memory Technology
Table of Contents

AMD DDR5 Patent: Bandwidth Doubled to 12.8 Gbps
#

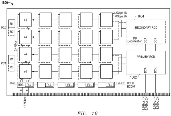
AMD has filed a new DDR5 patent featuring a High Bandwidth Dual In-line Memory Module (HB-DIMM) architecture that can effectively double memory speed from 6.4 Gbps to 12.8 Gbps.

AMD New DDR5 Technology

The design uses pseudo-channels and smart signaling, allowing each HB-DIMM to operate at twice the data transfer rate through a buffer chip. Interestingly, this speed approaches the current DDR5 overclocking ceiling of about 13 Gbps.

A major advantage of this patent is that it does not alter the underlying DDR5 standard. Instead, it extends performance through additional techniques, ensuring compatibility with existing platforms without requiring a complete overhaul.

AMD New DDR5 Technology

As both AI and GPU graphics workloads demand higher bandwidth, this approach could ease dependence on costly HBM memory for consumer adoption. However, since it is still at the patent stage, no commercial release timeline is available.


Product Spotlight: ASUS Turbo Radeon AI Pro R9700 32GB
#

Alongside AMD’s DDR5 update, ASUS has officially launched the Turbo Radeon AI Pro R9700 32GB GPU, targeting AI developers and professional users with efficient cooling and compact design.

AMD New DDR5 Technology

This card is ASUS’s first AMD GPU to feature the 12V-2x6 power connector. It comes with 32 GB of GDDR6 memory on a 256-bit bus, built into a dual-slot blower-style cooling system. The board measures 26.7 cm in length and requires at least a 750W power supply.

AMD New DDR5 Technology

ASUS highlights that its reinforced die-cast shroud and backplate can reduce memory temperatures by up to 16%, while the phase-change GPU thermal pad conducts heat more effectively than traditional thermal paste for long-term stability.

The GPU also supports GPU Tweak III one-click overclocking, boosting the clock speed to 2940 MHz (20 MHz higher than reference) with a game frequency of 2370 MHz, making it the first officially overclocked R9700.

AMD New DDR5 Technology

Launched in July, the Radeon AI Pro R9700 has no AMD reference model. It integrates 128 AI accelerators and delivers 1531 TOPS (INT4) performance, making it suitable for AI inference, training tasks, and professional workstation workloads.

AMD New DDR5 Technology

Related

AMD MI300X Architecture Unveiled at Hot Chips 2024
·487 words·3 mins
AMD Instinct MI300X CDNA 3 AI GPU
Intel Says Arrow Lake CPUs Beat AMD Ryzen 9000 on Value
·307 words·2 mins
Intel Arrow Lake AMD Ryzen 9000 CPU Gaming PC Hardware
AMD Ryzen 3 5100 : The Mystery CPU That Never Went Global
·497 words·3 mins
AMD Ryzen 3 5100 Ryzen 5000 Zen 3 AM4